體積小,重心低,制作輕巧,便于攜帶。高強磁性磁鐵明顯增強了仿形操作的可靠性并增大了牽引力,保證操作運行平穩。在增強仿形操作可靠性和自動停止功能的基礎上可同時操作多臺裝置。方向轉換開關能夠實現右向/左向運行。導向裝置是螺釘鎖定型,導向輪的角度和長度可調節。新的限位開關系統,使限位定位塊的高度限制范圍大大放寬。上述特性在“焊接有效性”和“由不熟練的操作人員進行操作”方面表現得尤為出色。

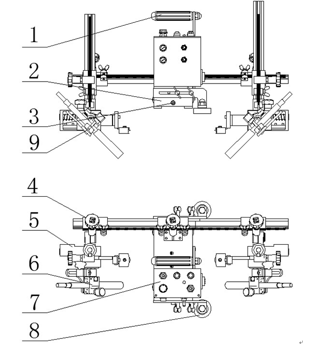
HK-8H由小車本體、控制箱,X-Y滑塊,焊槍夾具,導向輪等部件組成。
1) 手提手柄:搬移機器請緊握此手柄。
2) 小車主體:也是小車的驅動裝置的載體,包括電機,行星減速箱,驅動輪等。
3) 自動停止開關
機器兩端都設有限位開關,即焊接停止開關。
4) 橫移座:旋此手輪可左右調整焊槍位置。
5) 浮動裝置:此裝置可跟據工件的變形量進行實時浮動,確保焊槍與焊道的距離始終保持一致,以保證焊縫美觀。
6) 角度微調裝置:用此裝置可準確引導焊槍對準焊接部位。
7) 控制箱:可以調節小車的所有動作,詳細內容參考后續的“控制面板說明”
8) 調節導輪
9)焊槍夾持器:是固定焊槍的裝置,維修及調整是方便焊槍的拆卸。
技術規格
|
項目 |
技術規格 |
|
類型 |
HK—8H |
|
機器重量 |
31 Kg |
|
驅動方法 |
四橡膠輪驅動 |
|
牽引力 |
30 Kg |
|
焊接速度 |
150~~1200 (mm/min) |
|
跟蹤方式 |
導輪型 |
|
導輪高度 |
有三種選擇方式 |
|
焊炬調節范圍 |
作業角:360° 進行角:10° |
|
焊炬 |
彎槍或直槍 |
|
焊炬鎖緊裝置 |
適用于彎槍或直槍 |
|
自動停止功能 |
靠前后兩端限位器 |
|
外形尺寸(長x寬x高 ) |
593x406x320 mm |
配置
1) 主體部件 1套
2) 控制導線 1條
3) 專用焊炬(選配件) (用戶另購)
4) 保險(2安) 1支
5) 內六角扳手 1套
6) 操作使用說明書 1份
7) 產品合格證 1份
8) 保修單 1份