“HK-82-900”手提式仿形氣體切割機是一種較為先進的內靠模仿形切割機,該機操作簡便,割嘴位于磁性頭的中心,由于是緊貼模板進行跟蹤,所以切割精度高,表面切割質量好,整機重量輕,由于采用不銹鋼鋼管,有效的減輕了整機重量,利于攜帶。該機器專為切割大型工件而設計,軌道長度可根據工件的要求來調節,這一設計從而拓寬了切割能力及使用效率。

|
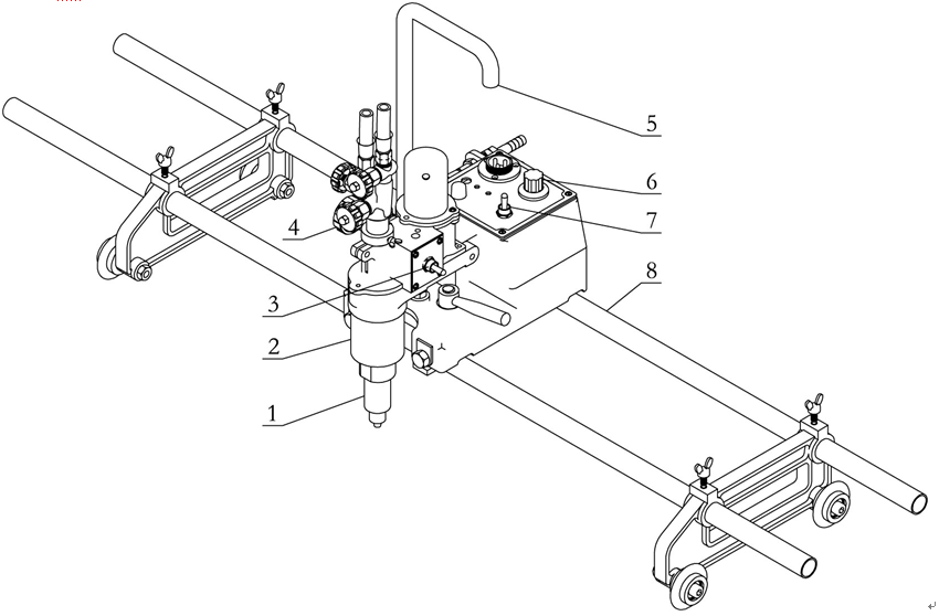
1.磁性頭 |
6.速度控制旋扭 |
|
2.仿形頭 |
沿“10”方向旋轉該鈕可使裝置移動加快, 沿“0”方向則使移動減慢。 |
|
3.電機正/反轉換開關 |
7.倒順開關 |
|
控制磁滾輪轉動方向 |
8.導軌 |
|
4.割炬調節手輪 |
|
|
5.把手 |
|
技術規格
|
1.重量 |
:9.5kg |
|
2.裝置外形尺寸 |
:550mm×330mm×350mm |
|
3.標準磁滾輪直徑 |
:16 mm |
|
4.電源 |
:交流 220V±10% |
|
5.速度控制方法 |
:可控硅控制 |
|
6.切割速度(無級調速) |
:100mm/min-600mm/min |
|
7.切割厚度 |
:5mm-50mm(標準附件) |
裝箱單
將裝置小心地從包裝箱中取出。首先,檢查各部件以確認其完整無缺。下列為應收的標準零部件清單。
|
1.標準包裝 |
|
|
1)主體部件 |
:1套 |
|
2)標準割炬總成 |
:1套 |
|
4)割嘴(乙炔) |
:1#,2#、3#各1只 |
|
6) 進氣接頭 |
: 1 套 |
|
7)開口扳手 |
:1把 |
|
8) 說明書,合格證 |
: 各1份 |
|
9) 電源電纜 |
: 1套 |